合作客戶/
拜耳公司 |
同濟大學 |
聯合大學 |
美國保潔 |
美國強生 |
瑞士羅氏 |
相關新聞Info
推薦新聞Info
-
> 基于表面光散射法的棕櫚酸甲酯/乙酯高溫表面張力與黏度測量(三)
> 基于表面光散射法的棕櫚酸甲酯/乙酯高溫表面張力與黏度測量(二)
> 基于表面光散射法的棕櫚酸甲酯/乙酯高溫表面張力與黏度測量(一)
> 不同礦漿濃度、粒度、伴生礦物、捕收劑和起泡劑對礦漿表面張力的影響(三)
> 不同礦漿濃度、粒度、伴生礦物、捕收劑和起泡劑對礦漿表面張力的影響(二)
> 不同礦漿濃度、粒度、伴生礦物、捕收劑和起泡劑對礦漿表面張力的影響(一)
> 長慶油田隴東地區的CQZP-1助排劑表/界面張力測量及現場應用(三)
> 長慶油田隴東地區的CQZP-1助排劑表/界面張力測量及現場應用(二)
> 長慶油田隴東地區的CQZP-1助排劑表/界面張力測量及現場應用(一)
> 液膜斷裂點與電壓最大值在表面張力測量中的對比研究(二)
醫學檢測用涂片裝置新設計可降低液體因表面張力形成的回彈濺起
來源:長沙千麥醫學檢驗實驗室有限公司 瀏覽 1168 次 發布時間:2024-08-14
涂片是檢測血液中或者體液中的包括淋球菌、新型隱球菌、梅毒螺旋體、白喉棒狀桿菌等病原體的一種檢查方法,被廣泛應用于醫學領域,而檢驗科用涂片器作為一種用于進行涂片檢測的醫療器械,在進行檢驗作業的過程中普遍使用。
現有技術中的涂片裝置在涂片時,待檢測液體容易因靜置而產生沉淀,無法保持樣液的均勻性,進而在檢測時影響檢驗的準確性,授權公告號為CN116990099B的中國專利公開了一種醫學檢驗用涂片器,通過設置正反向變速旋轉勻液機構、拆卸式樣液盛放筒、自控式涂布裝置、涂片厚度限位裝置、載玻片放置件和涂片箱,采用持續正反向變速旋轉勻液的方式,具有保持樣液均勻性持續統一的技術效果,進一步提高了檢驗的準確性。但是當將待檢測液滴落到承載片上時,由于液滴具有表面張力,待檢測液的液滴在滴液時不容易滴落,且在滴落后通常會濺開,使待檢測液的量產生損耗,不利于后續的涂片操作。
本發明提供一種醫學檢測用涂片裝置,通過設置外殼、涂片臺和滴液機構配合,采用手動和電動相結合的方式,利用滴液筒的轉動和氣流促使待檢測液滴落,同時待檢測液的液滴轉動產生的離心力可以減弱液滴落在涂片臺上后由于表面張力形成的回彈,進而可以降低液滴回彈濺起所造成的待檢測液量的損耗。
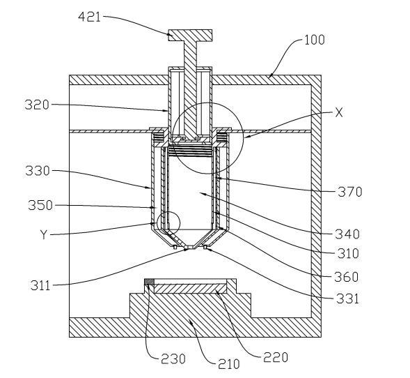
圖中:100、外殼;101、第一隔板;102、第二隔板;110、第一電機;200、涂片臺;210、臺體;220、承載板;230、推板;300、滴液機構;310、滴液筒;311、出液口;312、第二氣口;320、副筒;330、外筒;331、進氣口;340、滴液腔;350、第一空腔;360、混合筒;361、第一氣口;370、第二空腔;400、排氣機構;410、排氣板;411、排氣口;420、轉動板;421、把手。
一種醫學檢測用涂片裝置,包括外殼100、涂片臺200和滴液機構300。滴液機構300包括滴液筒310、副筒320和外筒330。滴液筒310能夠繞第一方向轉動地安裝于外殼100上,第一方向為豎直方向。滴液筒310內裝有待檢測液。副筒320與滴液筒310同軸設置并套接于滴液筒310內,外筒330與滴液筒310同軸設置并套接于滴液筒310外,將沿第二方向靠近滴液筒310中心軸線的一側稱為內,沿第二方向遠離滴液筒310中心軸線的一側稱為外,第二方向與第一方向垂直,第二方向為水平方向。
副筒320和滴液筒310之間限定出滴液腔340,滴液筒310上開設有出液口311,滴液腔340與出液口311連通。涂片臺200安裝于外殼100上,出液口311和涂片臺200在第一方向上依次設置,且當出液口311滴出一個待檢測液的液滴時,液滴沿第一方向上靠近涂片臺200的一端能夠與涂片臺200接觸。外筒330上具有第一空腔350,外筒330上開設有進氣口331,進氣口331設置在出液口311外側,進氣口331與第一空腔350連通。滴液筒310繞第一方向轉動能夠分別促使副筒320和外筒330沿第一方向移動,且在進行滴液操作時,副筒320沿第一方向移動能夠使滴液腔340體積變小,外筒330沿第一方向移動能夠使第一空腔350體積變大。
本實施例通過設置外殼100、涂片臺200和滴液機構300配合,在進行滴液操作時,使滴液筒310繞第一方向轉動,當滴液筒310轉動時,將促使副筒320和外筒330沿第一方向移動,且此時副筒320移動使滴液腔340體積變小,外筒330移動使第一空腔350體積變大。而滴液腔340體積變小將使滴液腔340內的待檢測液從出液口311擠出,由于滴液筒310繞第一方向轉動,因此從滴液腔340內推出的待檢測液也將轉動,進而使得當待檢測液沿第一方向靠近涂片臺200的一端與涂片臺200接觸時,隨著滴液筒310的持續轉動,將在滴液筒310與待檢測液連接的一端形成一個扭轉力,進而促使待檢測液滴落,避免液滴因其表面張力的作用不容易斷開,且在進行滴液操作時,第一空腔350體積變大后,第一空腔350內部將產生負壓,進而使外界氣體能夠從進氣口331進入第一空腔350內,而當氣體從進氣口331經過時,隨著滴液筒310的轉動,氣流將在出液口311的周向方向上產生一個擠壓力,進一步促使液滴與出液口311脫離。
又因為待檢測液的液滴的轉動具有慣性,當待檢測液與滴液筒310脫離時,待檢測液的液滴轉動使得待檢測液在滴落到涂片臺200上攤開后的面積更大,利于后續的涂片操作。同時待檢測液的液滴轉動產生的離心力可以有效減弱液滴落在涂片臺200上后,由于表面張力形成的回彈,進而可以降低液滴回彈濺起所造成的待檢測液量的損耗。





